В современных играх распространены разные способы помощи в прохождении. Где-то можно отключить QTE, где-то набивать комбо одной кнопкой, а нередко персонажи сами начинают подсказывать решения к головоломкам. В Sony пошли ещё дальше и запатентовали ИИ-помощника, который способен проходить сложные моменты в играх вместо живого геймера.
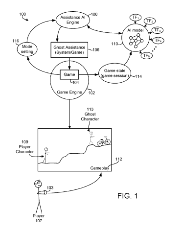
Как идея должна работать: в случае необходимости пользователь может вызвать «игрока-призрака» — ИИ-версию персонажа геймера — и тот пройдёт часть или весь уровень вместо человека.
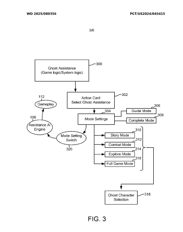
Например, в Uncharted получится призвать ИИ-вариант Нейтана Дрейка, который продемонстрирует решение загадки в режиме проводника, чтобы человек сам повторил необходимые действия. В альтернативном режиме «призрак» Дрейка пропрыгает по балкам или решит головоломку самостоятельно.


В документе указано, что ИИ-помощник будет натренирован на записях геймплея, а не состоять из заранее записанных вариантов действий. Как подметили в VGC, зарегистрированный патент призрачного помощника развивает идеи «Справки по игре» — опции для PS5, которая содержит полезные видео или скриншоты и помогает продвинуться в игре.
Важно подчеркнуть, что Sony подала заявку на регистрацию патента ещё в сентябре 2024-го, но лишь на прошлой неделе Всемирная организация интеллектуальной собственности опубликовала международный отчёт о состоянии патента.
Пока неизвестно, когда игры на PlayStation начнут играть сами в себя. Есть вероятность, что Sony оформила патент просто для галочки, чтобы этого не сделал кто-то другой. Таких случаев накопилось достаточно (пример, второй пример и ещё пример).
ИИ-помощник — не первый эксперимент Sony в сфере нейросетей. Ранее в Интернет выложили ролик, в котором главная героиня серии Horizon отвечает на вопросы пользователя, касающиеся внутриигрового мира и геймплея, и болтает на отвлечённые темы.